Qingdao Xin Aneng Conveying Machinery Co., Ltd.
Qingdao Xin Aneng Conveying Machinery Co., Ltd.
Știri

Determinarea protocolului mai curat

2025-03-19 0 Lasă-mi un mesaj

1.1 Determinarea programului mai curat

Măturați banda adezivă a prafului de cărbune la care a fost respectată. După cum știm cu toții, cărbunele brut transportat de pe fața minieră conține diferite grade de umiditate și este ușor de legat cărbunele pulverizat fin la suprafața benzii. Dacă cărbunele pulverizat legat de bandă nu este curățat, cărbunele pulverizat va fi adus în coșul de depozitare a centurii și rola de sub întreaga centură de jos în secțiunea goală (adică, centura de jos) și va fi depus în principal în coșul de depozitare a centurii.

Principalele rezultate sunt:

O cantitate mare de cărbune pulverizat se acumulează în coșul de depozitare a centurii, care îngroapă rola de sprijin, ceea ce face ca rola să nu funcționeze și să afecteze durata de viață a centurii;

2) abaterea funcționării centurii va provoca accidentul de atârnare sau rupere a marginilor;

3) crește rezistența de rulare a benzii și creșteți costul;

4) cantitatea de curățare a cărbunelui crește, ceea ce crește intensitatea forței de muncă a lucrătorilor;

În utilizarea produselor de curățare a cărbunelui, există trei probleme de rezolvat:

1) efectul de curățare ar trebui să fie bun;

2) curățătorul este ușor de înlocuit, iar volumul de muncă de întreținere ar trebui să fie mic;

3) Trebuie să existe o cale de ieșire pentru cărbunele pulverizat curățat.

1. Analiza situației actuale

1) Structura și poziția curățătorului tradițional de cărbune


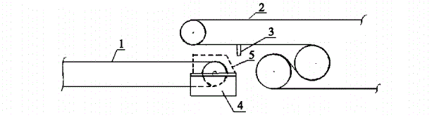
După cum se poate observa din figura 2-1, curățătorul de cărbune este în general instalat în spatele tamburului. Curățătorul de cărbune este să fixeze o bucată de bandă în mijlocul a două despicături pentru a forma un cadru de curățare a cărbunelui, utilizarea structurii știfturii și a pârghiei pentru a face ca banda de curățare a cărbunelui să se lipească de banda goală pentru curățare, să folosească tensiunea arcului pentru a face cărbunele mai curat, iar centura goală produce o anumită presiune și poate face ca banda de curățare a cărbunelui să fie mai curățată după compensarea presiunii.

2) defecte ale curățătorilor tradiționali de cărbune

o. Curățătorul de cărbune este compus dintr -o bandă de curățare și, deoarece centura de jos este o centură goală, centura plutește sub presiunea curățătorului de cărbune, presiunea curățătorului de cărbune nu este suficientă, iar efectul de curățare este slab.

6. Cleanerul de cărbune se află pe partea din spate a tamburului de descărcare și, în general, este la mai mult de 1 m distanță de tamburul de descărcare în funcție de condițiile de instalare, iar cărbunele sub curățenie trebuie să proceseze un mic buncăr de cărbune pentru a glisa cărbunele la centura următoare, dar uneori pentru că înălțimea spațiului subteran nu este suficientă, cărbunele care este măturat în jos nu poate fi alunecat.

C. Volumul de lucru de înlocuire al curățătorului de cărbune este mare, ceea ce face ca cărbunele să fie ușor de deteriorat, iar ciclul de înlocuire este, de asemenea, foarte scurt.

3) articulația tipică de transport a centurii

În figura 2-2 este prezentată o tură tipică de transport a centurii.

După cum se poate observa din figura 2-2, cărbunele de sub curățătorul de cărbune nu poate aluneca direct pe o centură și, în conformitate cu prevederile „Regulamentelor de siguranță a minelor de cărbune”, cele 35 de părți ale tuturor echipamentelor trebuie să fie echipate cu un dispozitiv de protecție (adică, un scut), așa că după ce o centură este echipată cu un scut, problema cărbunelui alunecată de cele două curățători de centură este crescută.

Știri similare
Lasă-mi un mesaj
X
Folosim cookie-uri pentru a vă oferi o experiență de navigare mai bună, pentru a analiza traficul site-ului și pentru a personaliza conținutul. Prin utilizarea acestui site, sunteți de acord cu utilizarea cookie-urilor. Politica de confidențialitate
Respinge Accepta